
型號:Q961F/941F 更新時間:2020-04-06
特點:UPVC電動球閥壓力都是10公斤,可以和16公斤法蘭片連接,耐溫根據材質不同,耐溫也不同,最高130度,最低-40度,走的介質都是水,油,腐蝕性液體,氣體等
UPVC電動球閥由本公司自主研發生產,在保證質量的同時,價格也是非常合理,以及在售後我們也做的非常完善。UPVC電動球閥適用於各種不同的輕重工業工況以及建築管道。塑料球閥廣泛應用於:電氣、造紙、鍋爐、製藥、礦山、化工、機械設備管道、電子工業,城市建設等領域。
| 產品名稱 | UPVC電動球閥 |
| 產品型號 | Q961F/Q941F |
| 公稱通徑 | DN15-300 |
| 壓力範圍 | 1.0MPa |
| 閥體材質 | (RPP.UPVC,CPVC,PVDF,PPH) |
UPVC電動球閥的構造原理
電動球閥構造簡略,隻由少數幾個零件組成,資料耗用省;體積小、重量輕、安裝尺寸小,驅動力矩小, 壓力調節閥,操作簡便、敏捷,隻需旋轉90°即可快速啟閉;並且還同時具有良好的流量調節功效和封閉密封特性,在大中口徑、中低壓力的應用範疇,電動球閥是主導的閥門情勢。
電動塑料球閥,重量輕、耐腐蝕性強,被應用於多個領域,如一般純水和生飲水的管路係統、排水和汙水管路係統、鹽水和海水管路係統、酸堿和化學溶液係統等多個行業,品質得到廣大用戶的認可。外型結構緊湊美觀、本體重量輕容易安裝、耐腐蝕性強,應用範圍廣、材質衛生、耐磨損、容易拆卸,維護簡單易行。
UPVC電動球閥選項參數

作用形式: 普通開關型、調節型(4~20mA)
環境溫度: -30℃~+70℃
電源電壓: AC220V、AC380V(其他定製DC24等)50/60H
防護等級: IP65、IP68可選
功能選項 (可選)
防 爆 型: 防爆等級:dⅡBT3/T4
信號反饋: 有源信號、S無源信號
帶加熱器: 可在潮濕環境中幹燥執行器內元件(可選)
手動功能: 電動執行器帶有手動開閥、關閥功能
調 節 型: 輸入4~20mA信號,實現閥門調節功能
備注: 電動執行器參數請另參考所選配的電動執行器資料
UPVC電動球閥參數
|
驅動 |
壓縮空氣5~7bar(可帶手輪) |
|
公稱通經 |
DN15-DN50 (Φ20mm-63mm) |
|
公稱壓力 |
1.0~1.6MPa |
|
適用溫度 |
0~+60℃ |
|
連接方式 |
法蘭,由令承插 |
|
閥結構 |
法蘭,雙由令 |
|
閥體材質 |
UPVC、CPVC、PP |
|
閥球材質 |
UPVC、CPVC、PP |
|
密封材質 |
PTFE |
|
適用介質 |
PVC兼容的食品工業化學溶劑 |
UPVC電動球閥標準
設計依據:ANSI JIS DIN GB
工作壓力:0.6-1.6MPa
溫度範圍:32°F to 140°F(0℃ to 60℃)
小型塑料電動執行器 小型閥門專用電動執行器PVC球閥蝶閥閥門專用電動執行器。
小型塑料電動執行器、MQ-03閥門電動執行器特點
1、全部金屬齒輪,確保長期運行。
2、立體指示裝置,更直觀。
3、高強度ABS工程塑料,耐腐蝕,改性搞些外線配方,長期室外工作不老化。
4、銅質螺孔嵌件,確保螺絲反複安裝不滑牙。
5、多種閥門接口,更適應客戶多種應用選擇,ISO5211標準法蘭平台配套球閥,不鏽鋼304支架和聯軸器。
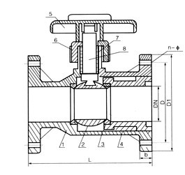
UPVC電動球閥外形尺寸

|
DN |
D1 |
D |
L |
d |
n |
¢ |
公稱壓力 |
||||||||||
|
HG |
JIS |
DIN |
ANSI |
HG |
JIS |
DIN |
ANSI |
HG |
JIS |
DIN |
ANSI |
PVDF |
RPP |
||||
|
15 |
95 |
65 |
70 |
65 |
60 |
100 |
14 |
4 |
4 |
4 |
4 |
14 |
15 |
14 |
16 |
1.2 |
1 |
|
20 |
105 |
75 |
75 |
75 |
70 |
120 |
16 |
4 |
4 |
4 |
4 |
14 |
15 |
14 |
16 |
1.2 |
1 |
|
25 |
115 |
85 |
90 |
85 |
80 |
140 |
16 |
4 |
4 |
4 |
4 |
14 |
19 |
14 |
16 |
1.2 |
1 |
|
32 |
135 |
100 |
|
|
|
160 |
16 |
4 |
|
|
|
18 |
|
|
|
1.2 |
1 |
|
40 |
145 |
110 |
105 |
110 |
98 |
165 |
16 |
4 |
4 |
4 |
4 |
18 |
19 |
18 |
16 |
1.2 |
1 |
|
50 |
160 |
125 |
120 |
125 |
120 |
180 |
18 |
4 |
4 |
4 |
4 |
18 |
19 |
18 |
19 |
1.2 |
1 |
|
65 |
180 |
145 |
140 |
145 |
140 |
220 |
22 |
4 |
4 |
4 |
4 |
18 |
19 |
18 |
14 |
1.2 |
1 |
|
80 |
195 |
160 |
150 |
160 |
152 |
250 |
25 |
4 |
8 |
8 |
4 |
18 |
19 |
18 |
14 |
1.2 |
1 |
|
100 |
215 |
160 |
175 |
180 |
190 |
280 |
25 |
8 |
8 |
8 |
8 |
18 |
19 |
18 |
19 |
1.2 |
1 |
|
125 |
245 |
210 |
210 |
210 |
216 |
320 |
30 |
8 |
8 |
8 |
8 |
18 |
23 |
18 |
22 |
1 |
0.8 |
|
150 |
280 |
240 |
240 |
240 |
240 |
360 |
30 |
8 |
8 |
8 |
8 |
23 |
23 |
23 |
22 |
1 |
0.8 |
|
200 |
335 |
295 |
295 |
295 |
298 |
400 |
35 |
8 |
12 |
8 |
8 |
23 |
23 |
23 |
22 |
0.8 |
0.8 |
|
250 |
395 |
350 |
355 |
350 |
362 |
500 |
38 |
12 |
12 |
12 |
12 |
23 |
23 |
23 |
22 |
0.8 |
0.6 |
|
300 |
455 |
400 |
400 |
400 |
432 |
600 |
40 |
12 |
16 |
12 |
12 |
23 |
25 |
23 |
25 |
0.8 |
0.5 |
UPVC電動球閥外形尺寸
|
通徑(mm) |
英寸″ |
尺寸(mm) |
|||||||
|
L |
L1 |
L2 |
D1 |
D2 |
D3 |
D4 |
D5 |
||
|
15 |
1/2 |
112 |
60 |
16 |
13 |
20.1 |
20.3 |
31 |
45 |
|
20 |
3/4 |
132 |
73 |
19 |
18 |
25.1 |
25.3 |
37 |
55 |
|
25 |
1 |
144 |
78 |
22 |
23 |
32.1 |
32.3 |
44 |
66 |
|
32 |
1 1/4 |
165 |
87 |
26 |
30 |
40.1 |
40.3 |
54 |
82 |
|
40 |
1 1/2 |
171 |
92 |
31 |
38 |
50.1 |
50.3 |
65 |
98 |
|
50 |
2 |
200 |
112 |
38 |
48 |
63.1 |
63.3 |
79 |
120 |
|
65 |
2 1/2 |
273 |
136 |
44 |
61 |
75.1 |
75.3 |
92 |
140 |
|
80 |
3 |
303 |
158 |
51 |
69 |
90.1 |
90.3 |
108 |
160 |
|
100 |
4 |
326 |
176 |
61 |
99 |
110.1 |
110.4 |
146 |
225 |
塑料原材料名稱及適用溫度:
UPVC 硬聚氯乙烯 溫度-10°C~80°C
CPVC 氯化聚氯乙烯 溫度-20°C~95°C
RPP 增強聚丙稀 溫度-14°C~90°C
PVDF 聚偏二氟乙烯 溫度-40°C~140°C
PPH 均聚型聚丙烯 溫度-14°C~95°C
