
型號: 更新時間:2020-04-06
特點:RPP氣動法蘭球閥壓力都是10公斤,可以和16公斤法蘭片連接,耐溫根據材質不同,耐溫也不同,最高130度,最低-40度,走的介質都是水,油,腐蝕性液體,氣體等
RPP氣動法蘭球閥由本公司自主研發生產,在保證質量的同時,價格也是非常合理,以及在售後我們也做的非常完善。RPP氣動法蘭球閥適用於各種不同的輕重工業工況以及建築管道。塑料球閥廣泛應用於:電氣、造紙、鍋爐、製藥、礦山、化工、機械設備管道、電子工業,城市建設等領域。
| 產品名稱 | RPP氣動法蘭球閥 |
| 產品型號 | Q641F |
| 公稱通徑 | DN15-300 |
| 壓力範圍 | 1.0MPa |
| 閥體材質 | (RPP.UPVC,CPVC,PVDF,PPH) |
RPP氣動法蘭球閥介紹:
RPP氣動法蘭球閥采用法蘭連接,使用螺栓螺絲即可快速裝配,具有結構緊湊、耐磨損、容易拆卸、方便檢修、維護簡單易行等優點。氣動塑料球閥閥體材質衛生無毒、耐腐蝕性強、重量輕、應用範圍廣,例如:純水和生飲水的管路係統、排水和汙水管路係統、鹽水和海水管路係統、酸堿和化學溶液係統等多個行業。
產品特點:
1、氣動球閥采用雙向法蘭結構,可在前段設備管路不必停工的狀態下,關閉球閥,進行後段工程維修。
2、氣動球閥閥體具有優良的耐化學腐蝕性能,在閥帽端有FPM或EPDM "O"環,配合PTFE墊座之使用,能防止多數化學物質之腐蝕。
3、墊座鬆緊可做適度調整。管壁平潔光滑,輸送流體時具有較小的磨擦阻力和附著力。
4、氣動球閥阻燃性能為自熄性。低熱傳導性能,約為鋼材的1/200。重量輕,相當於鋼管1/5,銅管的1/6。
5、介質中重離子含量達超純水標準,衛生指標符合國家衛生標準要求。
6、優異的耐老化和抗紫外線性能,使正常使用壽命比其它管道係統均有很大的延長。
氣動執行器:
本公司采用新型GTD係列或ATD係列氣動執行器,有雙作用式和單作用式(彈簧複位),齒輪傳動,安全可靠;大口徑閥門采用AW型係列氣動執行器拔叉式傳動,結構合理,輸出扭矩大,有雙作用式和單作用式。
1、齒輪式雙活塞,輸出力矩大,體積小。
2、氣缸選用鋁金材料,重量輕、外形美觀。
3、可在頂部、底部安裝手動操作機構。
4、齒條式連接可調節開啟角度、額定流量。
5、執行器可選帶電訊號反饋指示及各類附件以實現自動化操作。
6、IS05211標準連接為產品的安裝更換提供了方便。
7、兩端調的節螺釘可使標準產品在0°和90°有±4°的可調範圍,確保與閥門的同步精度。
技術參數和性能
RPP氣動法蘭球閥的現實作用 氣動球閥的工作原理是靠旋轉閥芯來使閥門暢通或閉塞。氣動球閥開關輕便,體積小,可以做成很大口徑,密封可靠,結構 簡單,維修方便,密封麵與球麵常在閉合狀態,不易被介質衝蝕,在各行業得到廣泛的應用。
氣動球閥和旋塞閥是同屬一個類型的閥門,隻有它的關閉件是個球體,球體繞閥體中心線作旋轉來達到開啟、關閉的一種閥門。
RPP氣動法蘭球閥在管路中主要用來做切斷速度快、分配和改變介質的流動方向。氣動球閥是近年來被廣泛采用的一種新型閥門,它具有以下優點:
1. 流體阻力小,其阻力係數與同長度的管段相等。
2. 結構簡單、體積小、重量輕。
3. 緊密可靠,目前球閥的密封麵材料廣泛使用塑料、密封性好,在真空係統中也已廣泛使用。
4. 操作方便,開閉迅速,從全開到全關隻要旋轉90°,便於遠距離的控製。
5. 維修方便,氣動球閥結構簡單,密封圈一般都是活動的,拆卸更換都比較方便。
6. 在全開或全閉時,球體和閥座的密封麵與介質隔離,介質通過時,不會引起閥門密封麵的侵蝕。
7. 適用範圍廣,通徑從小到幾毫米,大到幾米,從高真空至高壓力都可應用。
8. 因為氣動球閥動力源采用的是氣體,一般為0.2-0.8MPa壓力,相對比較安全。氣動球閥如果漏氣的話,相對液動、電動來說,氣體可以直接排出,對環境沒有汙染,同時具有較高的安全性。
9.相對於手動和渦輪轉動球閥來說,氣動球閥可以大口徑配置,(手動和渦輪轉動球閥一般都在DN300口徑以下,氣動球閥目前可以達到DN1200口徑。)
氣動塑料球閥已廣泛應用於石油、化工、發電、造紙、原子能、航空、火箭等各部門,以及人們日常生活中。
規格參數
|
空氣驅動 |
壓縮空氣4-6bar(可帶手輪) |
|
公稱通徑 |
15~300mm |
|
公稱壓力 |
1.0~1.6Mpa |
|
適用溫度 |
0~+60℃ |
|
連接方式 |
法蘭 |
|
閥結構 |
一體 |
|
閥體材質 |
UPVC、CPVC、PP |
|
閥芯材質 |
UPVC、CPVC、PP |
|
密封材質 |
PTFE |
|
適用介質 |
食品工業化學溶劑 |
|
可選附件 |
限位開關、定位器、電磁閥、減壓閥 |
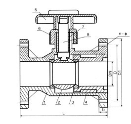
外形尺寸

|
DN |
D1 |
D |
L |
d |
n |
¢ |
公稱壓力 |
||||||||||
|
HG |
JIS |
DIN |
ANSI |
HG |
JIS |
DIN |
ANSI |
HG |
JIS |
DIN |
ANSI |
PVDF |
RPP |
||||
|
15 |
95 |
65 |
70 |
65 |
60 |
100 |
14 |
4 |
4 |
4 |
4 |
14 |
15 |
14 |
16 |
1.2 |
1 |
|
20 |
105 |
75 |
75 |
75 |
70 |
120 |
16 |
4 |
4 |
4 |
4 |
14 |
15 |
14 |
16 |
1.2 |
1 |
|
25 |
115 |
85 |
90 |
85 |
80 |
140 |
16 |
4 |
4 |
4 |
4 |
14 |
19 |
14 |
16 |
1.2 |
1 |
|
32 |
135 |
100 |
|
|
|
160 |
16 |
4 |
|
|
|
18 |
|
|
|
1.2 |
1 |
|
40 |
145 |
110 |
105 |
110 |
98 |
165 |
16 |
4 |
4 |
4 |
4 |
18 |
19 |
18 |
16 |
1.2 |
1 |
|
50 |
160 |
125 |
120 |
125 |
120 |
180 |
18 |
4 |
4 |
4 |
4 |
18 |
19 |
18 |
19 |
1.2 |
1 |
|
65 |
180 |
145 |
140 |
145 |
140 |
220 |
22 |
4 |
4 |
4 |
4 |
18 |
19 |
18 |
14 |
1.2 |
1 |
|
80 |
195 |
160 |
150 |
160 |
152 |
250 |
25 |
4 |
8 |
8 |
4 |
18 |
19 |
18 |
14 |
1.2 |
1 |
|
100 |
215 |
160 |
175 |
180 |
190 |
280 |
25 |
8 |
8 |
8 |
8 |
18 |
19 |
18 |
19 |
1.2 |
1 |
|
125 |
245 |
210 |
210 |
210 |
216 |
320 |
30 |
8 |
8 |
8 |
8 |
18 |
23 |
18 |
22 |
1 |
0.8 |
|
150 |
280 |
240 |
240 |
240 |
240 |
360 |
30 |
8 |
8 |
8 |
8 |
23 |
23 |
23 |
22 |
1 |
0.8 |
|
200 |
335 |
295 |
295 |
295 |
298 |
400 |
35 |
8 |
12 |
8 |
8 |
23 |
23 |
23 |
22 |
0.8 |
0.8 |
|
250 |
395 |
350 |
355 |
350 |
362 |
500 |
38 |
12 |
12 |
12 |
12 |
23 |
23 |
23 |
22 |
0.8 |
0.6 |
|
300 |
455 |
400 |
400 |
400 |
432 |
600 |
40 |
12 |
16 |
12 |
12 |
23 |
25 |
23 |
25 |
0.8 |
0.5 |
塑料原材料名稱及適用溫度
UPVC 硬聚氯乙烯 溫度-10 °C~70 °C
CPVC 氯化聚氯乙烯 溫度-40 °C~95 °C
RPP 增強聚丙稀 溫度-20 °C~90 °C
PVDF 聚偏二氟乙烯 溫度40 °C~140 °C
