
型號:Q41F/Q11F/Q61F 更新時間:2020-04-03
特點:塑料球閥壓力都是10公斤,可以和16公斤法蘭片連接,耐溫根據材質不同,耐溫也不同,最高130度,最低-40度,走的介質都是水,油,腐蝕性液體,氣體等
塑料球閥由本公司自主研發生產,在保證質量的同時,價格也是非常合理,以及在售後我們也做的非常完善。塑料球閥適用於各種不同的輕重工業工況以及建築管道。塑料球閥廣泛應用於:電氣、造紙、鍋爐、製藥、礦山、化工、機械設備管道、電子工業,城市建設等領域。
| 產品名稱 | 塑料球閥 |
| 產品型號 | Q41F/Q11F/Q61F |
| 公稱通徑 | DN15-300 |
| 壓力範圍 | 1.0MPa |
| 閥體材質 | (RPP.UPVC,CPVC,PVDF,PPH) |
塑料球閥廠家(RPP,UPVC,PVDF,CPVC,PPH,ABS)的詳細信息
球閥性能:
1、球體的鬆緊度可作適度調整(卸下球閥手柄即可操作)
2、科學的設計可防止球體移動,充分的安全性和使用性
3、可配置安裝電動或氣動裝置
塑料球閥廠家(RPP,UPVC,PVDF,CPVC,PPH)優點:
本公司的塑料球閥耐腐蝕,密封好,衛生無毒,使用壽命長
本公司生產的雙由令塑料球閥密封性好,強度高,耐腐蝕,使用壽命長。
1:工作壓力高,可達1.0MPa-1.6Mpa.
2:抗衝擊力好:塑料球閥具有良好的機械強度和較高的耐衝擊性能.
3:化學性能穩定:塑料球閥材質無毒\無味具有優良的化學性能和電氣絕緣性能.
4:流體阻力小:塑料球閥內壁光滑,摩擦係數小,輸送效果好.
5:塑料球閥安裝簡單,密封性好:產品安裝采用承插式連接.使用粘合劑溶接密封.
6:運用廣泛:工業,農業,食品,自來水等都能使用,並且其具有耐化學性,在化工以及一些具有腐蝕性的產品上運用也有獨到之處.
7.阻燃性能為自熄性
8.低熱傳導性能,為鋼材的1/200
9.介質中重離子含量達超純水含量
10.優異的耐老化和抗紫外線性能,正常使用情況下比一般閥門的壽命要延長很多
二:塑料球閥廠家(RPP,UPVC,CPVC,PVDF,PPH)材質表:
|
NO |
名稱 |
材質 |
|
1 |
閥體 |
FRPP、PVDF、CPVC、UPVC、PPH |
|
2 |
球 |
FRPP、PVDF、CPVC、UPVC、PPH |
|
3 |
壓緊 |
FRPP、PVDF、CPVC、UPVC、PPH |
|
4 |
接頭(螺口,承接,法蘭) |
FRPP、PVDF、CPVC、UPVC、PPH |
|
5 |
拚緊螺帽 |
FRPP、PVDF、CPVC、UPVC、PPH |
|
6 |
密封圈 |
PTER〈F4〉 |
|
7 |
手柄 |
ABS |
|
8 |
閥杆 |
FRPP、PVDF、CPVC、UPVC、PPH |
|
9 |
O型密封圈 |
EPDM.FPM |
|
10 |
O型密封圈 |
EPDM.FPM |
|
11 |
O型密封圈 |
EPDM.FPM |
|
12 |
密封圈 |
EPDM.FPM |
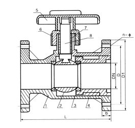
三.塑料球閥廠家(RPP,UPVC,CPVC,PVDF,PPH)尺寸表:


|
DN |
D1 |
D |
L |
d |
n |
¢ |
公稱壓力 |
||||||||||
|
HG |
JIS |
DIN |
ANSI |
HG |
JIS |
DIN |
ANSI |
HG |
JIS |
DIN |
ANSI |
PVDF |
RPP |
||||
|
15 |
95 |
65 |
70 |
65 |
60 |
100 |
14 |
4 |
4 |
4 |
4 |
14 |
15 |
14 |
16 |
1.2 |
1 |
|
20 |
105 |
75 |
75 |
75 |
70 |
120 |
16 |
4 |
4 |
4 |
4 |
14 |
15 |
14 |
16 |
1.2 |
1 |
|
25 |
115 |
85 |
90 |
85 |
80 |
140 |
16 |
4 |
4 |
4 |
4 |
14 |
19 |
14 |
16 |
1.2 |
1 |
|
32 |
135 |
100 |
|
|
|
160 |
16 |
4 |
|
|
|
18 |
|
|
|
1.2 |
1 |
|
40 |
145 |
110 |
105 |
110 |
98 |
165 |
16 |
4 |
4 |
4 |
4 |
18 |
19 |
18 |
16 |
1.2 |
1 |
|
50 |
160 |
125 |
120 |
125 |
120 |
180 |
18 |
4 |
4 |
4 |
4 |
18 |
19 |
18 |
19 |
1.2 |
1 |
|
65 |
180 |
145 |
140 |
145 |
140 |
220 |
22 |
4 |
4 |
4 |
4 |
18 |
19 |
18 |
14 |
1.2 |
1 |
|
80 |
195 |
160 |
150 |
160 |
152 |
250 |
25 |
4 |
8 |
8 |
4 |
18 |
19 |
18 |
14 |
1.2 |
1 |
|
100 |
215 |
160 |
175 |
180 |
190 |
280 |
25 |
8 |
8 |
8 |
8 |
18 |
19 |
18 |
19 |
1.2 |
1 |
|
125 |
245 |
210 |
210 |
210 |
216 |
320 |
30 |
8 |
8 |
8 |
8 |
18 |
23 |
18 |
22 |
1 |
0.8 |
|
150 |
280 |
240 |
240 |
240 |
240 |
360 |
30 |
8 |
8 |
8 |
8 |
23 |
23 |
23 |
22 |
1 |
0.8 |
|
200 |
335 |
295 |
295 |
295 |
298 |
400 |
35 |
8 |
12 |
8 |
8 |
23 |
23 |
23 |
22 |
0.8 |
0.8 |
|
250 |
395 |
350 |
355 |
350 |
362 |
500 |
38 |
12 |
12 |
12 |
12 |
23 |
23 |
23 |
22 |
0.8 |
0.6 |
|
300 |
455 |
400 |
400 |
400 |
432 |
600 |
40 |
12 |
16 |
12 |
12 |
23 |
25 |
23 |
25 |
0.8 |
0.5 |
四:塑料原材料名稱及適用溫度:
UPVC 硬聚氯乙烯 溫度-10°C~80°C
CPVC 氯化聚氯乙烯 溫度-20°C~95°C
RPP 增強聚丙稀 溫度-14°C~90°C
PVDF 聚偏二氟乙烯 溫度-40°C~140°C
PPH 均聚型聚丙烯 溫度-14°C~95°C

PPH氣動球閥
型號:Q661F
時間:2020-06-05

PPH氣動雙由令球閥
型號:Q661F
時間:2020-06-05

UPVC氣動絲扣球閥
型號:Q611F
時間:2020-04-03

UPVC氣動三通球閥
型號:Q664F/Q665F
時間:2020-04-03

PPH氣動三通球閥
型號:Q664F/Q665F
時間:2020-04-03

PPH氣動對焊球閥
型號:Q661F-10S
時間:2020-04-06
